Tehnologiile viitorului
Cum arată mașinile ”clasice”, știm. Ce tehnologii se introduc în prezent, descoperim. În acest articol ne propunem să facem o scurtă incursiune asupra celor mai noi brevete de invenții și inovații depuse la Biroul American pentru Invenții și Mărci. Există o mare probabilitate ca multe dintre aceste brevete să le vedem în curând pe străzi.
Toyota brevetează vopseaua care își poate schimba culoarea:

Toyota a depus o cerere de brevet pentru vopseaua care își schimbă culoarea, o tehnologie care ar putea permite proprietarilor sau dealerilor să schimbe rapid culorile mașinilor.
După cum notează Toyota în cerere - care a fost publicată de Oficiul pentru Brevete și Mărci din Statele Unite (USPTO) la 19 martie, dar depusă inițial în 2022 - proprietarii ar putea dori să schimbe culorile vopselei pentru a ține pasul cu tendințele sau doar pentru a schimba ceva. Dealerii ar putea, de asemenea, să schimbe culorile pentru a face mașinile mai ușor de vândut, sugerează Toyota.
Dar, în loc de o vopsire complexă sau de un strat de vinil, Toyota susține că a dezvoltat o vopsea care își poate modifica nuanțele în funcție de căldură și lumină. Așa cum este descris în cerere, o mașină ar fi condusă într-un garaj cu elemente de încălzire asemănătoare unui tunel care ar înconjura-o din toate părțile. Pe măsură ce suprafața vopselei este încălzită, un dispozitiv "modulator de culoare" care emite lumină ar fi trecut peste suprafața vopselei pentru a finaliza transformarea.
Modulatorul de culoare, care ar putea fi controlat de un operator uman sau de un robot, sugerează Toyota, ar servi, în esență, drept controler pentru acest proces. Acesta ar putea comunica cu un server de la distanță, precum și cu senzorii de temperatură încorporați în caroseria vehiculului pentru a determina setările corecte pentru o anumită culoare, potrivit aplicației.
Toyota recunoaște că nu este primul producător auto care experimentează cu vopsea cu schimbare de culoare. După cum a menționat producătorul auto în aplicație, BMW a demonstrat ceva similar la CES 2022 pe SUV-ul său electric iX.
După cum notează Toyota în cerere - care a fost publicată de Oficiul pentru Brevete și Mărci din Statele Unite (USPTO) la 19 martie, dar depusă inițial în 2022 - proprietarii ar putea dori să schimbe culorile vopselei pentru a ține pasul cu tendințele sau doar pentru a schimba ceva. Dealerii ar putea, de asemenea, să schimbe culorile pentru a face mașinile mai ușor de vândut, sugerează Toyota.
Dar, în loc de o vopsire complexă sau de un strat de vinil, Toyota susține că a dezvoltat o vopsea care își poate modifica nuanțele în funcție de căldură și lumină. Așa cum este descris în cerere, o mașină ar fi condusă într-un garaj cu elemente de încălzire asemănătoare unui tunel care ar înconjura-o din toate părțile. Pe măsură ce suprafața vopselei este încălzită, un dispozitiv "modulator de culoare" care emite lumină ar fi trecut peste suprafața vopselei pentru a finaliza transformarea.
Modulatorul de culoare, care ar putea fi controlat de un operator uman sau de un robot, sugerează Toyota, ar servi, în esență, drept controler pentru acest proces. Acesta ar putea comunica cu un server de la distanță, precum și cu senzorii de temperatură încorporați în caroseria vehiculului pentru a determina setările corecte pentru o anumită culoare, potrivit aplicației.
Toyota recunoaște că nu este primul producător auto care experimentează cu vopsea cu schimbare de culoare. După cum a menționat producătorul auto în aplicație, BMW a demonstrat ceva similar la CES 2022 pe SUV-ul său electric iX.
Bazat pe tehnologia electroforetică utilizată la cititoarele electronice, efectul de schimbare a culorii folosit de BMW a fost creat de milioane de microcapsule suspendate într-o învelitoare exterioară. Un curent electric a făcut ca pigmenții să circule în interiorul acestor microcapsule, schimbând exteriorul de la alb la gri și la negru prin simpla apăsare a unui buton.
Versiunea de la Toyota pare puțin diferită, deoarece nu folosește un înveliș exterior ca mediu. Rămâne de văzut dacă acest lucru o face să aibă mai multe șanse să ajungă în producție decât designul BMW (care a fost doar în scop demonstrativ).
Versiunea de la Toyota pare puțin diferită, deoarece nu folosește un înveliș exterior ca mediu. Rămâne de văzut dacă acest lucru o face să aibă mai multe șanse să ajungă în producție decât designul BMW (care a fost doar în scop demonstrativ).
GM brevetează celule de baterii de tip Lego pentru vehicule electrice:

General Motors a depus o cerere de brevet pentru celule de baterii cu forme neobișnuite, concepute pentru a facilita răcirea.
În loc de forma dreptunghiulară a celulelor Ultium actuale ale producătorului auto, cererea de brevet, vorbește despre formele Lego care lasă canale atunci când celulele sunt asamblate în module. Aceste canale ar putea fi folosite pentru răcire, ajutând la prelungirea duratei de viață a bateriei, susține GM în cerere.
În loc de forma dreptunghiulară a celulelor Ultium actuale ale producătorului auto, cererea de brevet, vorbește despre formele Lego care lasă canale atunci când celulele sunt asamblate în module. Aceste canale ar putea fi folosite pentru răcire, ajutând la prelungirea duratei de viață a bateriei, susține GM în cerere.


Ideea pare a fi aceea că aerul rece va curge direct pe o suprafață mai mare în comparație cu modulele GM Ultium actuale, în care o placă de răcire este plasată sub o masă solidă de celule. Un efect similar ar putea fi obținut cu celule cu aspect convențional, de lungime și grosime variabilă, spune GM în aplicație, prin aranjarea lor pentru a forma o formă de H care să încorporeze canale de răcire.
Dezavantajul ar fi complexitatea suplimentară a fabricării celulelor neuniforme, un lucru pe care GM ar putea să nu vrea să și-l asume, având în vedere problemele de producție cu care compania s-a confruntat cu actualele celule Ultium. Producția de EV-uri Ultium a mers la limită în 2023, ceea ce a determinat GM să amâne planurile pentru o capacitate suplimentară de camioane electrice. De asemenea, problemele legate de software au ținut în așteptare timp de câteva luni livrările modelului Chevrolet Blazer EV.
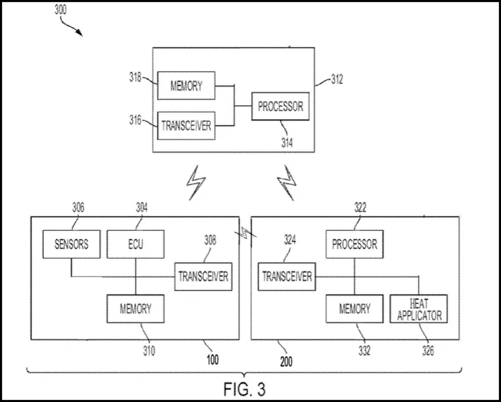
Detectarea piulițelor de roți slăbite:

Producătorul de anvelope Falken a dezvoltat o tehnologie pentru a detecta piulițele slăbite, iar compania intenționează să o introducă pe un vehicul de serie în cursul acestui an.
Sumitomo Rubber Industries a anunțat noua caracteristică Sensing Core, despre care compania spune că poate detecta piulițele de roți care sunt slăbite cu doar un milimetru, fără a utiliza senzori dedicați. În schimb, Sensing Core se bazează pe datele din rețeaua de zonă controlată (CAN) a unui vehicul, analizând viteza roților și alți factori.
Sumitomo Rubber Industries a anunțat noua caracteristică Sensing Core, despre care compania spune că poate detecta piulițele de roți care sunt slăbite cu doar un milimetru, fără a utiliza senzori dedicați. În schimb, Sensing Core se bazează pe datele din rețeaua de zonă controlată (CAN) a unui vehicul, analizând viteza roților și alți factori.
Această funcție va debuta ca dotare standard pe un automobil de la un producător auto nenumit în acest an, a declarat Sumitomo, adăugând că firma poartă discuții cu alți producători auto. Piața pe care va debuta caracteristica de detectare a piulițelor slăbite nu a fost discutată, astfel că nu este clar dacă va fi disponibilă în SUA.
Accidentele cauzate de piulițele slăbite au devenit o preocupare din ce în ce mai mare pe piața de origine a Sumitomo din Japonia, a declarat compania, în special înaintea lunilor mai reci, când șoferii trec la anvelopele de iarnă. În timp ce vehiculele comerciale au adesea cleme pentru a oferi o confirmare vizuală a faptului că piulițele sunt bine strânse, aceasta nu este o metodă infailibilă, susține Sumitomo. Iar autoturismele, în general, nu le au deloc.
Sumitomo susține că tehnologia Sensing Core este independentă de marca, modelul și dimensiunea anvelopei, permițând utilizarea acesteia la o varietate de combinații de vehicule și anvelope. Aceeași tehnologie de bază poate fi utilizată și pentru alte aplicații. Sumitomo a folosit aceeași tehnologie de bază și pentru un sistem indirect de monitorizare a presiunii în anvelope despre care compania susține că este utilizat de 15 producători de autovehicule de pe piețele din Europa, Japonia, China și India.
O altă aplicație posibilă este monitorizarea uzurii anvelopelor. Aceasta ar implica trimiterea datelor vehiculului către un cloud pentru a prezice uzura anvelopelor pe baza gradului de utilizare. În cadrul CES 2024, Sumitomo a anunțat o investiție în compania de software de analiză a vehiculelor Viaduct, cu scopul de a integra software-ul acesteia din urmă cu Sensing Core în acest scop.
Accidentele cauzate de piulițele slăbite au devenit o preocupare din ce în ce mai mare pe piața de origine a Sumitomo din Japonia, a declarat compania, în special înaintea lunilor mai reci, când șoferii trec la anvelopele de iarnă. În timp ce vehiculele comerciale au adesea cleme pentru a oferi o confirmare vizuală a faptului că piulițele sunt bine strânse, aceasta nu este o metodă infailibilă, susține Sumitomo. Iar autoturismele, în general, nu le au deloc.
Sumitomo susține că tehnologia Sensing Core este independentă de marca, modelul și dimensiunea anvelopei, permițând utilizarea acesteia la o varietate de combinații de vehicule și anvelope. Aceeași tehnologie de bază poate fi utilizată și pentru alte aplicații. Sumitomo a folosit aceeași tehnologie de bază și pentru un sistem indirect de monitorizare a presiunii în anvelope despre care compania susține că este utilizat de 15 producători de autovehicule de pe piețele din Europa, Japonia, China și India.
O altă aplicație posibilă este monitorizarea uzurii anvelopelor. Aceasta ar implica trimiterea datelor vehiculului către un cloud pentru a prezice uzura anvelopelor pe baza gradului de utilizare. În cadrul CES 2024, Sumitomo a anunțat o investiție în compania de software de analiză a vehiculelor Viaduct, cu scopul de a integra software-ul acesteia din urmă cu Sensing Core în acest scop.
Stellantis a conceput o transmisie cu 2 viteze pentru utilizarea în vehicule electrice de teren:

Stellantis a conceput o transmisie cu 2 viteze pentru utilizarea în vehicule electrice de teren, după cum arată un brevet recent apărut la suprafață.
Cele mai multe vehicule electrice (Porsche Taycan fiind o excepție notabilă) folosesc transmisii cu o singură viteză, deoarece cuplul instantaneu disponibil al motoarelor electrice face inutile mai multe rapoarte de transmisie. Dar, într-o cerere de brevet publicată de Oficiul pentru Brevete și Mărci din Statele Unite (USPTO) la 23 ianuarie (și depusă inițial la 28 aprilie 2023), Stellantis susține că acest lucru ar putea să nu fie ideal pentru vehiculele off-road.
Transmisia în sine ar folosi două seturi de angrenaje planetare într-o carcasă montată între un motor electric și semialborele unei punți, cu ambreiaje care controlează cuplul de ieșire. Aceste ambreiaje ar angaja una dintre cele două angrenaje și ar controla ieșirea către roți.
Ambreiajele ar putea fi, de asemenea, utilizate pentru a roti semiaxe în direcții diferite, permițând unui vehicul electric "să se rotească în jurul unui punct de pivotare pentru a permite o mobilitate îmbunătățită pe o fricțiune redusă", se arată în cerere. Acest lucru sună puțin ca și funcția Tank Turn a Rivian, care a fost pusă la raft, sau ca și funcția G-Turn a viitorului Mercedes-Benz G-Class electric.
Stellantis menționează, de asemenea, utilizarea acestui hardware "pentru a obține manevrabilitate off-road de mare viteză".
O cerere de brevet nu servește drept confirmare a planurilor de producție, dar Stellantis a experimentat cu vehicule electrice de teren cu conceptele Jeep Magneto. Aceasta este probabil o pregătire pentru viitoarea generație Jeep Wrangler, care, potrivit unui document al sindicatului, va fi vândut exclusiv ca EV sau hibrid plug-in de serie.
Cele mai multe vehicule electrice (Porsche Taycan fiind o excepție notabilă) folosesc transmisii cu o singură viteză, deoarece cuplul instantaneu disponibil al motoarelor electrice face inutile mai multe rapoarte de transmisie. Dar, într-o cerere de brevet publicată de Oficiul pentru Brevete și Mărci din Statele Unite (USPTO) la 23 ianuarie (și depusă inițial la 28 aprilie 2023), Stellantis susține că acest lucru ar putea să nu fie ideal pentru vehiculele off-road.
Transmisia în sine ar folosi două seturi de angrenaje planetare într-o carcasă montată între un motor electric și semialborele unei punți, cu ambreiaje care controlează cuplul de ieșire. Aceste ambreiaje ar angaja una dintre cele două angrenaje și ar controla ieșirea către roți.
Ambreiajele ar putea fi, de asemenea, utilizate pentru a roti semiaxe în direcții diferite, permițând unui vehicul electric "să se rotească în jurul unui punct de pivotare pentru a permite o mobilitate îmbunătățită pe o fricțiune redusă", se arată în cerere. Acest lucru sună puțin ca și funcția Tank Turn a Rivian, care a fost pusă la raft, sau ca și funcția G-Turn a viitorului Mercedes-Benz G-Class electric.
Stellantis menționează, de asemenea, utilizarea acestui hardware "pentru a obține manevrabilitate off-road de mare viteză".
O cerere de brevet nu servește drept confirmare a planurilor de producție, dar Stellantis a experimentat cu vehicule electrice de teren cu conceptele Jeep Magneto. Aceasta este probabil o pregătire pentru viitoarea generație Jeep Wrangler, care, potrivit unui document al sindicatului, va fi vândut exclusiv ca EV sau hibrid plug-in de serie.
Ford dezvoltă apărători de noroi detașabile:
Apărătoarele de noroi sunt o parte simplă și directă a unei mașini sau a unui camion, dar Ford a venit cu ceva mai elaborat.
Într-o cerere de brevet publicată de Oficiul pentru Brevete și Mărci din Statele Unite (USPTO) la 20 februarie - dar depusă la 26 aprilie 2022 - Ford detaliază clapetele de noroi detașabile care s-ar deplasa spre exterior din poziția de depozitare pentru a bloca stropii de noroi care ies din anvelopele unui vehicul.
În aplicație, Ford spune că acest sistem este destinat în primul rând pentru a menține curate părțile laterale ale unui vehicul. Flapsurile s-ar desfășura atunci când este detectată o cantitate semnificativă de stropi, împiedicându-i să lovească partea laterală a vehiculului și să murdărească totul.
Într-o cerere de brevet publicată de Oficiul pentru Brevete și Mărci din Statele Unite (USPTO) la 20 februarie - dar depusă la 26 aprilie 2022 - Ford detaliază clapetele de noroi detașabile care s-ar deplasa spre exterior din poziția de depozitare pentru a bloca stropii de noroi care ies din anvelopele unui vehicul.
În aplicație, Ford spune că acest sistem este destinat în primul rând pentru a menține curate părțile laterale ale unui vehicul. Flapsurile s-ar desfășura atunci când este detectată o cantitate semnificativă de stropi, împiedicându-i să lovească partea laterală a vehiculului și să murdărească totul.


Ford nu oferă prea multe detalii cu privire la beneficiile clapetelor care se pot desfășura, spre deosebire de versiunile convenționale care sunt fixate în poziție. Dar producătorul auto notează că obținerea poziției ideale de protecție împotriva stropirii necesită, de asemenea, blocarea unui mâner al ușii.
Aerodinamica poate fi, de asemenea, un factor. Ford a patentat, de asemenea, planuri de plonjare detașabile cu scopul de a oferi o mai mare flexibilitate pentru reglarea aerodinamică. Totuși, planurile de plutire au un scop foarte diferit, deoarece sunt dispozitive de generare a forței de apăsare utilizate în general pe mașinile de performanță.
În ceea ce privește vehiculul de serie - dacă va exista - care va primi apărători de noroi detașabili, știm că Ford intenționează să lanseze o nouă camionetă electrică în 2025. Cu numele de cod T3, aceasta este proiectată de la zero ca un vehicul electric, spre deosebire de actualul Ford F-150 Lightning, care împarte platforma cu modelele F-150 pe benzină.
Camioanele mari sunt adesea echipate cu apărători de noroi, iar aceste versiuni detașabile ar putea contribui la reducerea rezistenței aerodinamice și la creșterea autonomiei unui camion electric.